US patent 1945052 is generally considered to be the basic patent of the former cellular glass production in the west. Bernard Long, working at St. Gobain Glass was the inventor. However, this patent does not describe the powder method today used. The patent describes two recipes for the melting furnace, which gives a multicellular glass without and with reheating . The first recipe without reheating produces a “foam” of 1800 kg/m³ while the second one with reheating allows a density of 800 kg/m³. Even the lowest density is far from the commercial densities between 100 and 200 kg/m³. For these densities, the powder method was later on developed.
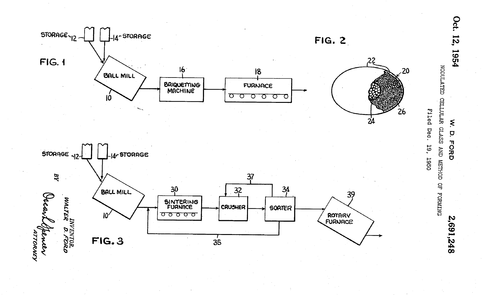
US patent 2691248 describes the powder method (with ball mill) with soda lime glass and carbon black and mentions the importance of sulfate in the glass. “Preferably, the glass will contain suitable amounts (.08 to 2.5%) of an oxygen-giving agent, such as S03 If not, ferric oxide or antimony trioxi-de (in amounts of 0.1 to 8%) may be added to the pul~ verized glass-carbon mixture. The glass is pref erably pulverized together with about 0.1 to 2% by weight of carbonaceous materials to form a mixture, 95% of which will pass a screen of ‘200 mesh. The carbon may comprise lamp black, carbon black, coal, or coke in amounts of 0.1 to 5% of the mixture.” The densities obtained with this patent are about 250 kg/m³, close to the commercial densities of today. This patent was originally developed for the production of pellets.
